TQ-G11懸臂梁式稱重傳感器
編號:10279
查看:
發布:2022-12-29
TQ-G11懸臂梁式稱重傳感器安裝高度低、綜合精度高、自穩定結構、長期穩定性好,優質不銹鋼結構,表面鍍鎳處理 TQ-G11懸臂梁式稱重傳感器適用于配料秤、料斗秤、包裝秤等
編號:10279
查看:
發布:2022-12-29
TQ-G11懸臂梁式稱重傳感器安裝高度低、綜合精度高、自穩定結構、長期穩定性好,優質不銹鋼結構,表面鍍鎳處理 TQ-G11懸臂梁式稱重傳感器適用于配料秤、料斗秤、包裝秤等
產品名稱:TQ-G11懸臂梁式稱重傳感器
產品特點:TQ-G11懸臂梁式稱重傳感器安裝高度低、綜合精度高、自穩定結構、長期穩定性好,優質不銹鋼結構,表面鍍鎳處理
產品用途:TQ-G11懸臂梁式稱重傳感器適用于配料秤、料斗秤、包裝秤等
量程:1kN(100kg)、2kN(200kg)、3 kN(300kg)、5 kN(500kg)、8 kN(800kg)、10 kN(1t)、20 kN(2t)、30 kN(3t)
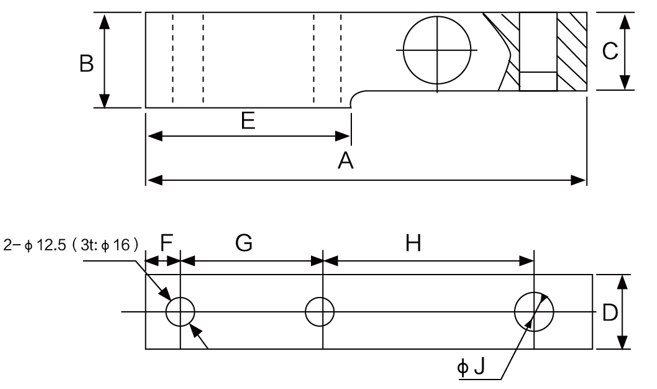
技術參數及外形尺寸:
序號 | 產品技術參數 | |
1 | 額定載荷 | 1kN-30kN |
2 | 靈敏度 | 2.0±0.002%mV/V |
3 | 非線性(含滯后) | ±0.02%F.S |
4 | 重復性 | ±0.02%F.S |
5 | 蠕變(30分鐘) | ±0.02%F.S |
6 | 零點輸出 | ±1%F.S |
7 | 輸入阻抗 | 400±10Ω |
8 | 輸出阻抗 | 350±4Ω |
9 | 絕緣阻抗 | ≥5000MΩ |
10 | 溫度對零點的影響 | ±0.02%F.S/10℃ |
11 | 溫度對靈敏度的影響 | ±0.02%F.S/10℃ |
12 | 補償溫度范圍 | -10~40℃ |
13 | 適用溫度范圍 | -40~80℃ |
14 | 安全過載 | 150%F.S |
15 | 極限載荷 | 300%F.S |
16 | 材質 | 合金鋼 |
17 | 激勵電壓 | 10V(DC) |
18 | 接線方式 | 紅……E+(輸入正) 黑……E-(輸入負) 綠……S+(輸出正) 白……S-(輸出負) |

型號 量程(kN) 量程(t) A B C D E F G H I J TQ-G11 1-2 0.1-0.2 138 32 29 29 64 10 40 78 12.5 12.5 3-8 0.3-0.8 138 32 29 29 64 12 40 74 12.5 12.5 10-20 1-2 200 40 34 34 91 15.5 64 98 12.5 16 30 3t 200 40 34 34 91 15.5 64 98 16 16
圖片與實物略有差異,以實物為準 / 濟南泰欽保留隨時更改、撤消產品型號、規格的權利,恕不另行通知