CH-X2A 懸臂梁式稱重傳感器
編號:10450
查看:
發布:2022-05-20
產品名稱:CH-X2A懸臂梁式稱重傳感器產品特點:CH-X2A懸臂梁式稱重傳感器采用優質不銹鋼材質,具有高精度、高穩定性等特點,安裝簡便、快速,適用于攪拌站、皮帶秤、配料秤和平臺秤等。量程:1kN(100kg)、2kN(20
編號:10450
查看:
發布:2022-05-20
產品名稱:CH-X2A懸臂梁式稱重傳感器產品特點:CH-X2A懸臂梁式稱重傳感器采用優質不銹鋼材質,具有高精度、高穩定性等特點,安裝簡便、快速,適用于攪拌站、皮帶秤、配料秤和平臺秤等。量程:1kN(100kg)、2kN(20
產品名稱:CH-X2A 懸臂梁式稱重傳感器
產品特點:CH-X2A懸臂梁式稱重傳感器采用優質不銹鋼材質,具有高精度、高穩定性等特點,安裝簡便、快速,適用于攪拌站、皮帶秤、配料秤和平臺秤等。
量程:1kN(100kg)、2kN(200kg)、3kN(300kg)、5kN(500kg)、10kN(1t)、20kN(2t)、30kN(3t)
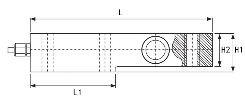
外形尺寸:


量程(kN) | 量程(t) | L | L1 | L2 | L3 | L4 | H1 | H2/B | D1 | M | W | |
1-2.5 | 0.1-0.25 | mm | 127 | 55 | 35 | 72 | 10 | 18 | -- | Φ11 | M12x1.75 | 20 |
3-20 | 0.3-2 | mm | 203 | 95 | 64 | 98 | 22 | 43 | 36.6 | Φ13 | M16x2 | 36.6 |
30 | 3 | mm | 203 | 95 | 64 | 98 | 22 | 43 | 36.6 | Φ15 | M16x2 | 36.6 |
技術參數:
技術參數 | |||
額定輸出 | 2.0mV/V±1% | 零點平衡 | ±1%F.S |
綜合精度 | 0.03%F.S | 輸入阻抗 | 400±10Ω |
線性、滯后性 | ±0.03%F.S | 輸出阻抗 | 350±4Ω |
重復性 | ±0.03%F.S | 絕緣電阻 | ≥5000MΩ |
蠕變 | ±0.03%F.S/30min | 允許工作電壓 | 5~15V/DC |
零點溫度影響 | ±0.03%/10℃ | 工作溫度范圍 | -30℃~+70℃ |
輸出溫度影響 | ±0.03%/10℃ | 安全過載 | 150%F.S |
接線方式 | 激勵:+紅 -黑 信號:+綠 -白 屏蔽:黃 | ||